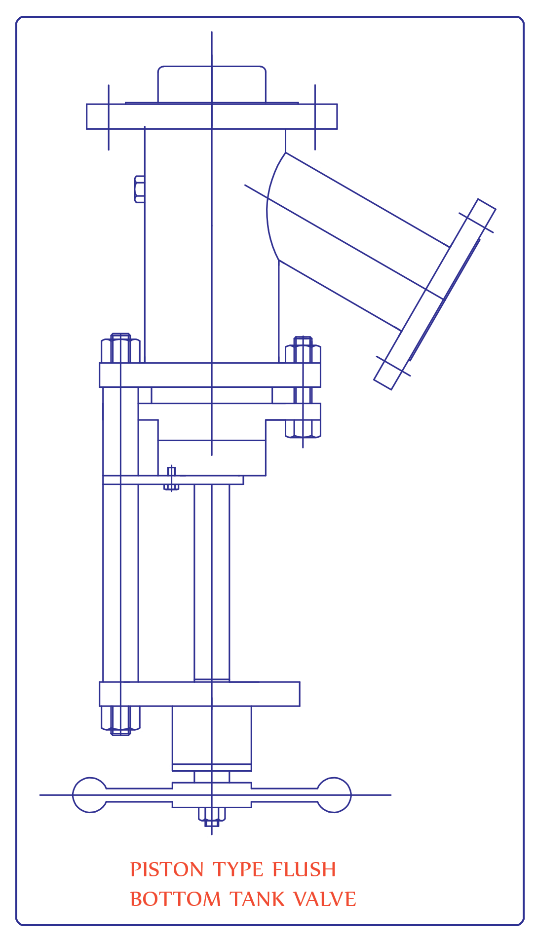
Y-Type Flush Bottom Tank Valve
We offer a wide range of flush bottom tank valves. These are available in opening inside tank and opening inside valve design with teflon seating and metal to metal seating. We can offer these valves with following features:
- Manual/Gear Operation
- Motorized/Pneumatic operation
- RTD for temperature indication
- Special Alloys
- Robust body design
- High flow capacity for better flow-rate to line size ratio
- Pressure sealed bonnet option
- Variety of cage trims designs to suit wide range of industrial applications
- Wide range of noise reduction and cavitation control options
- Quick change self aligning trim / seat design
- Top entry trim for easy inline assessment and maintenance
- Long service life and Operational reliability
- Interchangeable internal parts
HYDRAULIC TEST PRESSURE |
|
BODY |
30 Kg/cm2 (g) |
SEAT |
21 Kg/cm2 (g) |
AIR TEST |
|
SEAT |
7 Kg/cm2 (g) |
| PARTS | MATERIALS |
| BODY | ASTM A216 GR. WCB 1351 GR. CF8 M / CF8 / CF3 M / CF3, ALLOY 20, INCONEL 600, HASTELLOY-B, HASTELLOY-C, MONEL (INVESTMENT CASTING) |
| DISC | AISI 304 / 316/ aLLOY 20, INCONEL 600, HASTELLOY-B, HASTELLOY-C, MONEL |
| CHECK NUT | AISI 304 / 316 |
| GLAND | AISI 304 / 316 |
| GLAND PACKING | TEFLON IMPREGNATED ASBESTOS/ TEFLON |
| YOKE PLATE | MILD STEEL / SS 304 |
| YOKE BUSH | GUN METAL |
| PILLAR STUD & NUT | M.S. / AISI 304 / 316 |
| SPINDLE | AISI 304 / 316 |
| HAND WHEEL | CAST IRON |
| HAND WHEEL NUT | MILD STEEL |
MOC:
- Alloy 20, Inconel 600
- HASTELLOY - B
- HASTELLOY - C
- MONEL
APPLICABLEĀ STANDARDS |
FACE TO FACE - ANSI B 16.10 |
MFG. STD - |
TESTING STANDARDS -API 598 |
Specifications for PAD
PAD SIZE |
40X40 |
50X40 |
65X50 |
80X50 |
100X80 |
150X100 |
200X150 |
250X200 |
ØD1 |
48 |
60 |
74 |
89 |
114 |
168 |
218 |
275 |
T1 |
38 |
43 |
43 |
43 |
43 |
47 |
47 |
52 |
VALVE SIZE |
40X40 |
50X40 |
65X50 |
80X50 |
100X80 |
150X100 |
200X150 |
250X200 |
ØD |
47 |
59 |
73 |
88 |
113 |
167 |
216 |
273 |
T |
40 |
45 |
45 |
45 |
45 |
50 |
50 |
54 |




